Giới thiệu IC nguồn UCC35701D
IC nguồn điều chế độ rộng xung UCC35701/UCC35702 được dành cho nguồn cung cấp năng lượng chuyển mạch bị cô lập sử dụng điều khiển bên chính. Họ có thể là được sử dụng cho cả ứng dụng ngoại tuyến và thiết kế bộ chuyển đổi DC/DC như trong một kiến trúc hệ thống điện phân tán hoặc như một nguồn điện viễn thông.
Các thiết bị này có dòng điện khởi động thấp, cho phép khởi động ngoại tuyến hiệu quả, nhưng vẫn có đủ điều khiển đầu ra để chuyển đổi MOSFET nguồn vượt quá 500kHz.
Bù chuyển tiếp nguồn cấp điện áp đang hoạt động trong phạm vi đầu vào 5:1 và cung cấp phản ứng nhanh và chính xác với sự thay đổi điện áp đầu vào trong một phạm vi 4:1. Kẹp volt-giây chính xác và giới hạn chu kỳ làm việc tối đa cũng được đặc trưng.
Bảo vệ lỗi được cung cấp bởi xung bởi giới hạn dòng xung cũng như khả năng chốt sau khi xảy ra một số lỗi lặp đi lặp lại có thể lập trình được.
Hai tùy chọn UVLO được cung cấp. Gia đình UCC35701 có bật và tắt ngưỡng 13V/9V và dòng UCC35702 có ngưỡng 9,6V/8,8V.
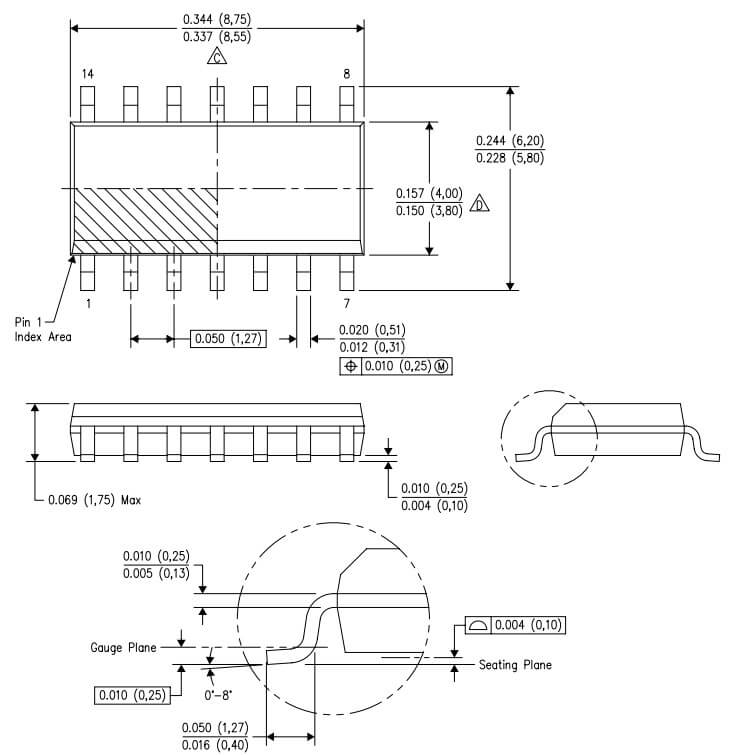
UCC35701/2 và UCC25701/2 được cung cấp trong SOIC 14 chân (D), 14 chân PDIP (N) hoặc trong các gói TSSOP (PW) 14 chân. UCC15701/2 là
được cung cấp trong gói CDIP (J) 14 pin.

Sơ đồ chân và chức năng các chân IC nguồn UCC35701D
VDD: Chân cấp nguồn. Bộ điều chỉnh shunt giới hạn nguồn cung cấp điện áp đến 14V điển hình ở dòng shunt 10mA.
PGND: Điện Mặt Đất. Hoàn trả mặt đất cho trình điều khiển đầu ra và dòng điện.
GND: Mặt đất tương tự. Hoàn trả mặt đất cho tất cả các mạch khác. Chân này phải được kết nối trực tiếp với PGND trên Cái bảng.
OUT: Đầu ra ổ đĩa cổng. Điện trở đầu ra là 10 tối đa.
VFF: Chân tiếp điện áp. Chân này kết nối với cung cấp điện áp đầu vào thông qua một bộ chia điện trở và cung cấp bù chuyển tiếp trên 0,8V đến Phạm vi 3,2V. Điện áp lớn hơn 4.0V hoặc nhỏ hơn 0,6V trên chân này bắt đầu chu kỳ dừng mềm.
RT: Điện áp trên chân này phản ánh VFF trên 0,8V đến Phạm vi 3,2V. Một điện trở nối đất đặt tụ điện dốc Dòng điện tích điện. Giá trị điện trở phải nằm trong khoảng 20k và 200k.
CT: Một tụ điện nối đất cung cấp bộ tạo dao động/ feedforward dạng sóng răng cưa. Dòng sạc là 2 IRT, dẫn đến độ dốc CT tỷ lệ với điện áp đầu vào. Dải điện áp dốc là GND đến VRT.
Chu kỳ và tần số dao động được cho bởi:

VSCLAMP: Điện áp tại chân này được so sánh với CT điện áp, cung cấp một giới hạn volt-giây không đổi. Đầu ra bộ so sánh kết thúc xung PWM khi đoạn đường nối điện áp vượt quá VSCLAMP. Thời gian tối đa là được cho bởi:
FB: Đầu vào cho bộ so sánh PWM. Pin này được dự định được điều khiển bằng một mạch ghép quang. trở kháng đầu vào là 50k Phạm vi điều chế điển hình là 1,6V đến 3,6V.
SYNC: Đầu vào đồng bộ bộ dao động nhạy cảm mức độ. Trình độ cao buộc đầu ra ổ đĩa cổng ở mức thấp và đặt lại tụ điện dốc. Đúng giờ bắt đầu ở cạnh âm của xung. Có dòng điện kéo xuống 3 A trên chốt, cho phép nó được ngắt kết nối khi không được sử dụng.
VREF: Tham chiếu cắt bớt 5.0V với biến thiên 2% so với dòng, tải trọng và nhiệt độ. Bỏ qua với tối thiểu 0,1 F xuống đất.
SS: Chân khởi động mềm. Một tụ điện được kết nối giữa này ghim và nối đất để đặt thời gian khởi động của bộ chuyển đổi. Sau khi bật nguồn (VDD>13V VÀ VREF>4,5V) hoặc sau một tình trạng lỗi đã được xóa, tụ khởi động mềm được sạc cho VREF bằng dòng điện bên trong danh nghĩa 18 A nguồn. Trong khi tụ điện khởi động mềm đang sạc và trong khi VSS < (0,4 VFB), chu kỳ nhiệm vụ và do đó điện áp đầu ra của bộ chuyển đổi được xác định bởi mềm
khởi động mạch. Ở điều kiện lỗi High Line hoặc Low Line, khởi động mềm tụ điện được phóng điện với dòng phóng điện có kiểm soát khoảng 500 A. Trong thời gian xuất viện, nhiệm vụ chu kỳ của bộ chuyển đổi giảm dần về không.
Tính năng dừng mềm này cho phép các bộ chỉnh lưu đồng bộ xả dần bộ lọc LC đầu ra. Đóng cửa đột ngột tắt có thể khiến bộ lọc LC dao động, tạo ra các mức điện áp đầu ra không thể đoán trước.
Tất cả các điều kiện lỗi khác (UVLO, VREF thấp, Quá dòng (0,6V trên ILIM) hoặc COUNT) sẽ gây ra sự cố ngay lập tức dừng của bộ chuyển đổi. Hơn nữa, cả quá dòng lỗi và lỗi COUNT sẽ được chốt bên trong cho đến khi VDD giảm xuống dưới 9V hoặc VFF xuống dưới 600mV ngưỡng ở đầu vào của bộ so sánh Dòng thấp.
Sau khi tất cả các điều kiện lỗi được xóa và tụ điện khởi động mềm được phóng điện dưới 200 mV, một chu kỳ khởi động mềm sẽ
được bắt đầu để khởi động lại bộ chuyển đổi.
ILIM: Cung cấp xung theo giới hạn dòng xung bằng cách chấm dứt xung PWM khi đầu vào trên 200mV. Một đầu vào trên 600mV bắt đầu chu trình dừng mềm có chốt. ĐẾM: Tụ điện nối đất tích hợp các xung hiện tại được tạo ra khi ILIM vượt quá 200mV. Một điện trở để mặt đất đặt hằng số thời gian xả. quá điện áp 4V sẽ bắt đầu chu trình dừng mềm có chốt.
Kích thước chân datasheet UCC35701D
