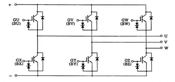
1. Giới thiệu MP6753 IGBT Toshiba 20A 600V tháo máy
MP6753 là một IGBT (Insulated Gate Bipolar Transistor) của hãng Toshiba, có khả năng chịu dòng lên đến 20A và điện áp tối đa 600V. Đây là loại linh kiện bán dẫn được sử dụng rộng rãi trong các ứng dụng yêu cầu công suất cao, ví dụ như trong các mạch điện tử công nghiệp, biến tần, bộ nguồn DC-DC, và các mạch điều khiển động cơ.

IGBT có khả năng kết hợp ưu điểm của transistor MOSFET và BJT, giúp điều khiển dòng điện và điện áp hiệu quả trong các ứng dụng có công suất lớn. Phiên bản tháo máy của MP6753 mang lại khả năng sử dụng tiết kiệm chi phí mà vẫn giữ được chất lượng đáng tin cậy trong các ứng dụng cần thiết.
2. Cấu tạo
Cấu tạo của MP6753 IGBT bao gồm:
-
Cấu trúc IGBT: Gồm ba lớp bán dẫn (P-N-P) kết hợp với một điện cực cách ly (gate) để điều khiển transistor.
-
Tấm kim loại dẫn nhiệt: Tấm kim loại này giúp tản nhiệt hiệu quả từ chip bán dẫn bên trong, tránh quá nhiệt trong quá trình hoạt động.
-
Chân điện cực (Emitter, Collector, và Gate): Các chân này có nhiệm vụ kết nối với mạch điện để điều khiển dòng điện qua IGBT.
-
Vật liệu cách điện: Giúp cách ly điện áp cao từ các thành phần bên ngoài, đảm bảo tính an toàn khi hoạt động.

3. Thông số kỹ thuật
-
Dòng tối đa: 20A (Dòng tối đa có thể dẫn qua IGBT mà không bị hư hỏng).
-
Điện áp tối đa: 600V (Điện áp cao nhất mà IGBT có thể chịu mà không bị phá hủy).
-
Điện áp điều khiển: 15V (Điện áp điều khiển giữa chân Gate và Emitter).
-
Tần số chuyển mạch: Lên đến 20kHz (tần số chuyển mạch tối đa mà IGBT có thể hoạt động hiệu quả).
-
Điện trở cực collector-emitter (Vce sat): 2V (Điện áp giữa collector và emitter khi IGBT đang dẫn dòng ở trạng thái đóng).
-
Điện trở cách điện: 10^9 Ohm (Đảm bảo cách điện tốt giữa các thành phần điện trong IGBT).
-
Nhiệt độ hoạt động: Từ -40°C đến +150°C (phạm vi nhiệt độ mà IGBT có thể hoạt động mà không bị hỏng).
-
Tản nhiệt: Cần sử dụng bộ tản nhiệt ngoài để đảm bảo IGBT không bị quá nhiệt trong quá trình sử dụng.
4. Kiểu chân & chức năng chân
| Chân | Tên chân | Chức năng |
|---|---|---|
| 1 | Gate (G) | Cổng điều khiển, nơi điện áp điều khiển được cấp vào để kích hoạt IGBT. |
| 2 | Collector (C) | Điện cực collector, nơi dòng điện cao đi vào khi IGBT dẫn dòng. |
| 3 | Emitter (E) | Điện cực emitter, nơi dòng điện ra sau khi đi qua IGBT. |
Lưu ý: Các chân có thể thay đổi tùy thuộc vào loại IGBT và thông số kỹ thuật cụ thể. Bạn nên tham khảo datasheet của MP6753 để xác định chính xác chân của linh kiện.
5. Chức năng linh kiện
-
Mạch điều khiển dòng điện: IGBT có khả năng điều khiển dòng điện lớn từ mạch điện áp cao, giúp bảo vệ các linh kiện khác trong mạch.
-
Chuyển mạch nhanh: IGBT có khả năng chuyển mạch nhanh giữa trạng thái mở (conducting) và đóng (non-conducting), giúp tối ưu hiệu quả năng lượng trong các ứng dụng công suất cao.
-
Điều khiển điện áp cao: Chức năng điều khiển điện áp cao từ một mức điện áp thấp qua cổng Gate, giúp IGBT hoạt động hiệu quả mà không cần mạch điều khiển phức tạp.
-
Tản nhiệt: Do dòng điện lớn đi qua, IGBT cần có hệ thống tản nhiệt để giảm thiểu hiện tượng quá nhiệt, bảo vệ linh kiện khỏi hư hỏng.
6. Ứng dụng
-
Biến tần (Inverter): Sử dụng trong các mạch biến tần AC-DC, DC-AC để điều khiển động cơ và các hệ thống năng lượng tái tạo.
-
Mạch điều khiển động cơ: Điều khiển công suất và tốc độ của động cơ điện trong các ứng dụng công nghiệp.
-
Nguồn DC-DC: Dùng trong các mạch nguồn để chuyển đổi giữa các mức điện áp DC khác nhau.
-
Các thiết bị công suất lớn: IGBT thường được dùng trong các mạch điện tử công suất cao, ví dụ như nguồn cung cấp cho các thiết bị điện tử công nghiệp.
-
Hệ thống UPS (Uninterruptible Power Supply): Cung cấp nguồn điện ổn định và dự phòng cho các thiết bị quan trọng.
-
Mạch điều khiển nguồn DC: Các ứng dụng trong các mạch điều khiển nguồn điện từ AC sang DC hoặc điều khiển các tải công suất cao.
7. Kích thước
-
Kích thước module IGBT (MP6753):
-
Chiều dài: Khoảng 22mm.
-
Chiều rộng: Khoảng 18mm.
-
Chiều cao: Khoảng 6mm (tùy theo nhà sản xuất và phiên bản).
-
-
Kích thước chân: Thường có khoảng cách chân 2.5mm hoặc 5mm, tùy vào loại IGBT.
8. Cách đo đạc kiểm tra
-
Kiểm tra điện áp Gate:
-
Dùng đồng hồ vạn năng để đo điện áp giữa chân Gate và Emitter. Khi điện áp giữa Gate và Emitter vượt qua mức yêu cầu (thường là khoảng 15V), IGBT sẽ bắt đầu dẫn dòng.
-
-
Kiểm tra điện áp Collector-Emitter (Vce):
-
Đo điện áp giữa chân Collector và Emitter khi IGBT đang hoạt động. Mức điện áp Vce trong trạng thái dẫn dòng thường sẽ rất thấp (2V hoặc thấp hơn).
-
-
Kiểm tra dòng qua IGBT:
-
Đo dòng điện đi qua chân Collector khi IGBT đang mở (conducting). Dòng điện không nên vượt quá giá trị 20A.
-
-
Kiểm tra tản nhiệt:
-
Đo nhiệt độ của IGBT trong quá trình hoạt động dưới tải tối đa. Nếu nhiệt độ quá cao, cần thêm tản nhiệt hoặc làm mát.
-
-
Kiểm tra bảo vệ quá dòng/ quá áp:
-
Nếu có hiện tượng quá dòng hoặc quá áp, IGBT sẽ có thể bị hỏng hoặc hoạt động không ổn định. Kiểm tra các điều kiện này để bảo vệ IGBT khỏi hư hỏng.
-
















