1. Giới Thiệu 6DI50A-060 Module Transistor Fuji
6DI50A-060 là một module IGBT công suất cao, được sử dụng trong các ứng dụng yêu cầu chuyển đổi điện năng với hiệu suất cao và khả năng chịu tải mạnh mẽ. Với dòng điện tối đa 50A và điện áp tối đa 600V, nó được thiết kế cho các hệ thống yêu cầu khả năng chuyển mạch nhanh và hiệu suất cao trong môi trường công nghiệp.

-
Ứng dụng chính: Các ứng dụng chuyển mạch điện năng trong hệ thống điều khiển động cơ, điều khiển tốc độ động cơ, hệ thống UPS (Uninterruptible Power Supply), nguồn DC, và các mạch nguồn công nghiệp.
-
Đặc điểm nổi bật: Hiệu suất chuyển mạch cao, khả năng chịu tải mạnh mẽ, tích hợp mạch bảo vệ để tránh sự cố do quá dòng hoặc quá nhiệt.
2. Cấu Tạo
6DI50A-060 có cấu trúc module IGBT gồm các thành phần cơ bản sau:
-
IGBT (Insulated Gate Bipolar Transistor): Đây là transistor chính của module, có khả năng chuyển mạch nhanh và chịu được dòng điện lớn.
-
Diode phụ (Freewheeling Diode): Diode này giúp bảo vệ mạch bằng cách cho phép dòng điện lưu thông trong các chu kỳ tắt của transistor.
-
Mạch bảo vệ (Protection Circuit): Các mạch bảo vệ giúp ngừng hoạt động của module trong trường hợp có sự cố quá dòng hoặc quá nhiệt.
-
Vỏ module: Vỏ module bằng kim loại (thường là nhôm hoặc hợp kim cao cấp) giúp tản nhiệt và bảo vệ các linh kiện bên trong khỏi các yếu tố môi trường.
-
Kết nối chân (Pins): Các chân kết nối giúp truyền tín hiệu điều khiển và dòng điện vào/ra từ module.

3. Thông Số Kỹ Thuật
Dưới đây là các thông số kỹ thuật chính của module 6DI50A-060:
-
Điện áp cực đại (V_CEO): 600V
-
Dòng điện cực đại (I_C): 50A
-
Dòng điện cực đại trong chu kỳ ngắn (I_CP): 100A (tối đa trong một chu kỳ ngắn)
-
Công suất tiêu thụ: 350W (tùy vào điều kiện hoạt động)
-
Nhiệt độ hoạt động: -40°C đến 125°C
-
Tần số chuyển mạch: 20kHz (tùy vào ứng dụng)
-
Điện trở hở: 0.03Ω (tùy vào dòng điện)
-
Điện áp điều khiển (V_GS): 15V
-
Khả năng chống quá dòng: Có bảo vệ quá dòng tích hợp.
-
Tính năng bảo vệ: Bảo vệ quá nhiệt và quá dòng.
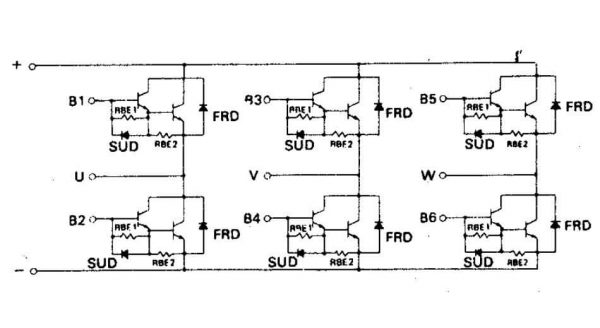
4. Kiểu Chân & Chức Năng Chân
6DI50A-060 có các chân kết nối thông dụng, giúp dễ dàng tích hợp vào các mạch điện. Các chân này có chức năng như sau:
| Chân | Chức năng |
|---|---|
| 1 | Collector (C): Chân Collector, kết nối với cực âm của nguồn điện. |
| 2 | Emitter (E): Chân Emitter, kết nối với cực dương của nguồn điện. |
| 3 | Gate (G): Chân Gate, dùng để điều khiển mở/đóng transistor. |
| 4 | Diode Cathode (D): Chân Cathode của diode phụ, kết nối với cực dương của diode. |
| 5 | Diode Anode (D): Chân Anode của diode phụ, kết nối với cực âm của diode. |
| 6 | Collector (C): Chân Collector thứ hai, kết nối với cực âm của nguồn điện. |
| 7 | Emitter (E): Chân Emitter thứ hai, kết nối với cực dương của nguồn điện. |
| 8 | Gate (G): Chân Gate thứ hai, điều khiển đóng/mở của transistor phụ. |
Thông thường, các chân này sẽ được kết nối với các linh kiện như điện trở, tụ điện, và các mạch điều khiển để đảm bảo hiệu suất tối ưu và bảo vệ module khỏi các tình huống không mong muốn.
5. Chức Năng Linh Kiện
6DI50A-060 có một số chức năng quan trọng như sau:
-
Chuyển mạch điện năng: IGBT trong module giúp chuyển đổi nguồn điện DC thành AC (hoặc ngược lại), tạo điều kiện cho việc điều khiển động cơ hoặc các thiết bị tiêu thụ điện năng.
-
Tích hợp mạch bảo vệ: Module có mạch bảo vệ quá dòng và quá nhiệt, giúp ngừng hoạt động khi có sự cố xảy ra, bảo vệ mạch và các thiết bị khác khỏi hư hỏng.
-
Tính năng tiết kiệm năng lượng: Với khả năng chuyển mạch nhanh và hiệu suất cao, 6DI50A-060 giúp tiết kiệm năng lượng, giảm tổn thất và nhiệt sinh ra trong quá trình hoạt động.
-
Khả năng chịu tải mạnh: Với khả năng chịu được dòng điện lên đến 50A, module này rất thích hợp cho các ứng dụng cần công suất cao.
6. Ứng Dụng
6DI50A-060 thường được sử dụng trong các ứng dụng công nghiệp và tự động hóa, bao gồm:
-
Điều khiển động cơ (Motor Drives): Điều khiển tốc độ và công suất của động cơ trong các ứng dụng công nghiệp và máy móc.
-
Nguồn cung cấp năng lượng (Power Supplies): Cung cấp điện cho các thiết bị công suất cao, hệ thống UPS (Uninterruptible Power Supply), và các bộ chuyển đổi nguồn.
-
Hệ thống điều khiển nhiệt (Temperature Control Systems): Sử dụng trong các bộ điều khiển nhiệt độ và điều khiển nhiệt năng.
-
Ứng dụng trong điện tử công nghiệp: Module này thường được dùng trong các ứng dụng như máy ép, máy nén, máy bơm và các thiết bị công nghiệp khác yêu cầu khả năng chịu tải và độ bền cao.
-
Điều khiển tự động hóa: Các hệ thống tự động hóa trong sản xuất, giám sát và điều khiển quá trình có thể sử dụng module này để điều khiển các thiết bị tiêu thụ điện năng.
7. Kích Thước
Kích thước của 6DI50A-060 module transistor có thể được mô tả như sau:
-
Chiều dài: Khoảng 70 mm.
-
Chiều rộng: Khoảng 60 mm.
-
Chiều cao: Khoảng 20 mm.
-
Khoảng cách giữa các chân: Khoảng 2.5 mm.
Các thông số kích thước này có thể thay đổi tùy vào từng mẫu sản phẩm và kiểu gói cụ thể.

8. Cách Đo Đạc và Kiểm Tra
Để đo đạc và kiểm tra hoạt động của 6DI50A-060, bạn có thể thực hiện các bước sau:
-
Kiểm tra kết nối chân:
-
Đảm bảo rằng các chân Collector (C), Emitter (E), và Gate (G) được kết nối đúng vào mạch điện.
-
-
Kiểm tra điện áp hoạt động:
-
Sử dụng đồng hồ vạn năng để đo điện áp tại chân Collector và Emitter, đảm bảo rằng điện áp nằm trong phạm vi hoạt động của module (600V tối đa).
-
-
Kiểm tra điều khiển Gate:
-
Đo điện áp tại chân Gate (G) khi có tín hiệu điều khiển để đảm bảo rằng module đang được kích hoạt đúng cách.
-
-
Kiểm tra dòng điện đầu ra:
-
Sử dụng thiết bị đo dòng điện để kiểm tra dòng điện qua Collector và Emitter. Đảm bảo rằng dòng điện không vượt quá 50A và module không bị quá nhiệt.
-
-
Kiểm tra tính năng bảo vệ:
-
Kiểm tra xem module có hoạt động đúng khi có sự cố quá dòng hoặc quá nhiệt. Điều này có thể kiểm tra thông qua các mạch bảo vệ tích hợp.
-


















